
Check out our latest products
Canon has submitted a patent application in Japan for a series of fast, supertelephoto prime lenses that reduce the size of the current EF and RF versions of the 300mm f/2.8, 400mm f/2.8 and 500mm f/4.
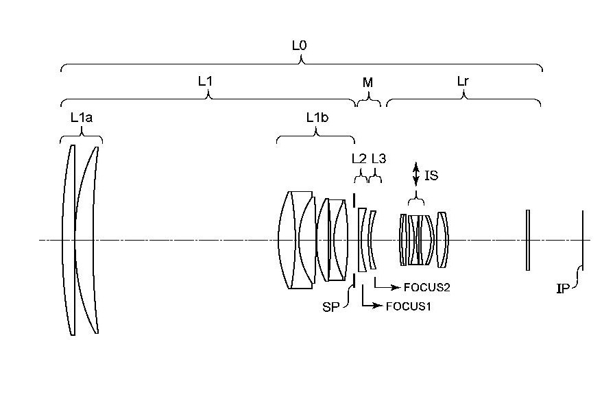
RF 400mm f/2.8L IS USM II
The 400mm f/2.8L IS USM in this optical design is down about a 2cm in length. There is no weight given in these sorts of patent applications, but a reduction in size usually comes with some weight savings.
Going back to 1991 when Canon released the EF 400mm f/2.8L USM, it tipped the scales at 6.45kg / 14.2lbs. The current RF 400mm f/2.8L IS USM is down to 2.9kg / 6.3lbs. The current Sony 400 f/2.8 GM weighs about the same as the Canon offering.
Of the three optical designs, I believe the 400mm f/2.8L IS USM is the most likely to become a product.
We do know that both the RF 400mm and RF 600 “big whites” will be updated some time in 2026.
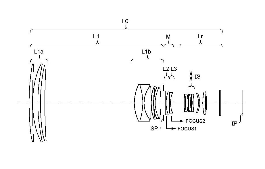
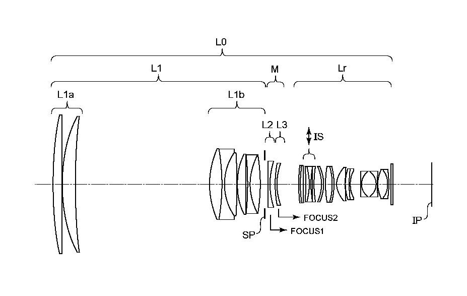
RF 300mm f/2.8L IS USM II & RF 500mm f/4L IS USM
During the EF days, we had both the EF 300mm f/2.8L IS USM II and EF 500mm f/4L IS USM II, niether of which exists in the RF lineup.
Canon instead chose to release the brilliant RF 100-300mm f/2.8L IS USM, but we’re still waiting on some kind of 500mm f/4 lens. We do believe that it will also be a zoom lens of some kind and that Canon will keep the big primes to 400mm, 600mm and longer.
The EF 300mm f/2.8L IS USM II was 248mm / 9.8″ long, and in this optical design Canon has reduced the length down to 220mm / 8.6″ once flance distance is calculated. The current zoom version of the lens is very close in size.
The optical design here for the RF 500mm f/4L IS USM doesn’t reduce the length of the lens all that much.
JPO 2025114982 Embodiments

| Canon RF 300mm f/2.8L IS | Patent: JPO 2025114982 |
|---|---|
| Focal Distance | 289.77 |
| F-number | 2.91 |
| Half Angle of View | 4.27° |
| Image Height | 21.64mm (Full-Frame) |
| Total Lens Length | 240.23mm / 9.45″ |
| Backfocus | 37.97mm |

| Canon RF 400mm f/2.8L IS | Patent: JPO 2025114982 |
|---|---|
| Focal Distance | 387.99mm |
| F-number | 2.91 |
| Half Angle of View | 3.19° |
| Image Height | 21.64mm (Full-Frame) |
| Total Lens Length | 366.59mm / 14.4″ |
| Backfocus | 38.51mm |

| Canon RF 500mm f/4L IS | Patent: JPO 2025114982 |
|---|---|
| Focal Distance | 543.19mm |
| F-number | 4.12 |
| Half Angle of View | 2.28° |
| Image Height | 21.64mm (Full-Frame) |
| Total Lens Length | 372.05mm / 14.6″ |
| Backfocus | 38.30mm |
Photo by Tim Mossholder on Unsplash
|
When you purchase through links on our site, we may earn an affiliate commission. Here’s how it works. |